收藏 分销(赏)

企业防汛、防洪、防台风安全应急预案.doc

上传人:仙人****88 文档编号:8922235 上传时间:2025-03-08 格式:DOC 页数:9 大小:94.04KB 下载积分:10 金币
下载 相关 举报
企业防汛、防洪、防台风安全应急预案.doc_第1页
第1页 / 共9页
企业防汛、防洪、防台风安全应急预案.doc_第2页
第2页 / 共9页


点击查看更多>>
资源描述
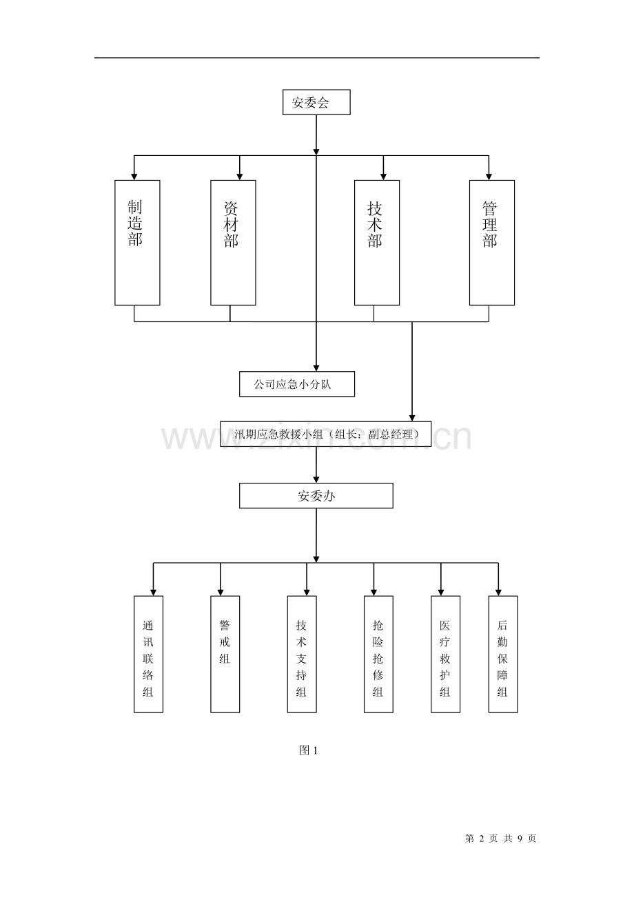
防洪、防汛、台风抢险应急预案 1、总则 1.1为了贯彻“安全第一,预防为主”的安全生产方针,做好强降雨及汛期前的准备工作,防止强降雨及汛期引发的事故,保证生产活动顺利进行,确保雨天用电安全防止触电事故的发生,特制定本预案。 1.2本预案适用于本公司防洪、防汛、台风、洪水、风暴潮产生的灾害及其次生灾害。 1.3本预案依据《中华人民共和国安全生产法》、《中华人民共和国建筑法》、《中华人民共和国消防法》、《安全生产许可证条例》、《建筑安全操作规程》。 2、应急响应指挥组织机构 2.1为了加强对强降雨及汛期所引发的事故应急救援工作的组织领导,公司成立应急响应指挥组织机构,指导项目部应急救援小组应急反映行动按计划有序进行,防止因应急反映行动组织不力或现场救援工作无序和混乱而延误事故应急救援。 2.2应急响应指挥组织机构图(图1): 安委会 资材部 制造部 管理部 技术部 公司应急小分队 汛期应急救援小组(组长:副总经理) 安委办 通讯联络组 警戒组 技术支持组 抢险抢修组 医疗救护组 后勤保障组 图1 2.2防洪、防汛、台风抢险工作流程图(图2): 台风洪水情况通报 收到台风防洪防汛信息 防台防洪领导小组召开会议 落实防台防洪安全安全措施 防洪防汛防台前的工作 防台防洪措施验收检查 安排人员轮流值班 防洪防汛防台期间工作 台风洪水动态通报 跟进气象部门发布的信息 抢险队做好工作准备 安全生产检查 防洪防汛防台后的工作 恢复正常营业 总结防洪防台经验持续改进 3)应急指挥办公室 应急指挥部下设应急指挥办公室,应急指挥办公室设置在总务科,负责防汛急救援预案的日常管理工作。 防洪、防汛、防台应急指挥办公室主任由安全部门负责人担当。 ⑴组织制订防洪、防汛、防台应急预案。 ⑵负责组织防洪、防汛、防台物资的保障和人员的应急救援教育培训。 ⑶建立并管理应急救援的信息资料、档案。 (4)协调、组织各应急小组开展抢救工作及善后处置。 (5)组织开展应急预案演练,检讨及修正预案。 4) 警戒组 组长:保安干事 成员:保安 主要任务是做好汛期灾害事故抢险救援现场的重要危险区域的警戒和疏散人员的工作。 安全警戒组的职责如下: ⑴布置安全警戒,实行交通管制,禁止无关人员和车辆进入危险区域。 ⑵暴雨天气做好厂区范围内的危险点排查工作。 ⑶根据情况打开排水盖,加大排水量,防止雨水在厂区积聚。疏散时,负责人员清点工作。 ⑷做好公共基础设施、宣传栏、广告牌、高空挂物、行道树、庭院灯等的防台工作; 5) 抢险组 组长:安全系系长 组员:制造部高干、品质保证科科长、保安队队长、制造四科科长、资材部安全员、资材部安全员、设备科系长。 主要任务是做好强降雨灾害事故抢险救援工作。 ⑴协助相关抢险单位开展救援。当发生较大生产安全事故时,配合上级政府应急救援专业抢险救援队伍开展救援。 ⑵组织抢救、转移相关重要物品。 ⑶负责抢险被事故破坏的设备、交通设施、通讯设备设施。 ⑷负责有关防台抢险物资、设备、器材的组织储备、调动和供应。负责抗台、排涝用电的供应;及时调度解决抗灾电力,抢修灾损电力设施。 6) 后勤组 组长:总务科主干 组员:饭堂班长、总务科主任、总务担当、小车班班长、公司客车司机、司机 主要任务是做好汛期灾害事故抢险救援现场的后勤保障工作。 ⑴负责组织抢险抢救物资的供应,组织车辆运送抢险救援物资和人员。 ⑵将所需物资供应现场。 ⑶负责应急救援所用车辆的调配。 ⑷配合上级政府应急救援组织开展救援。 ⑸疏散时,清点人数。 (6)组织、协调救助和救灾工作,负责防汛防台和救灾资金的筹集,组织指导和开展救灾捐款等工作;及时负责接收、拨放救灾款物。 7) 救护组 组长:总务科科长 组员:护士、厂医、制造一科文员、制造四科文员、制造二科文员、制造三科文员、资材生产管理科文员、制造管理科文员 主要任务是做好灾害事故抢险救援现场的医疗救护工作。 ⑴负责组织在现场附近的安全区域内设立临时医疗救护点,进行临时包扎、冲洗等现场救护、治疗工作,护送受伤人员至医院治疗。 ⑵与周边医院协调,组织救护车辆及医护人员、器材进入指定地点; ⑶配合专业医疗队伍对事发现场进行防化、防毒处理。 ⑷负责统计人员伤亡情况。 8)通讯组 组长:安全系系长 组员:保安干事、系统担当、主任、保安 主要任务是做好灾害事故抢险救援现场的通讯保障和上传下达工作,并详细记录有关情况。 ⑴接到报警后,对内通知各应急小组集合,开展各项应急工作。对外紧急联络各有关方,根据总指挥指示,决定是否报警; ⑵负责事故信息的传递上报工作,下达指挥中心总指挥的指令,确保指挥中心与各应急小组之间的联系。 9)技术组 组长:总务科科长 成员:资材部生管科科长、设备科科长、制造一科科长、制造二科科长、制造三科科长、制造四科科长、制造管理科科长、安全系系长。 主要任务是负责组织相关专业人员到场协助开展处置,提供技术指导。 ⑴负责组织车间电力供应,确保不影响生产。确保用电安全,防止触电事故发生。 ⑵负责临时抢修被破坏的设备、通讯设备设施。 ⑶恢复正常生产的抢修作业。 ⑷对抢救过程中遇到的技术难题及时给予技术指导,协同现场指挥部制定应急结束后的恢复计划。 (5)负责有关防台抢险物资、设备、器材的组织储备、调动和供应。负责抗台、排涝用电的供应;及时调度解决抗灾电力,抢修灾损电力设施。 (6)提出抢险抢修及避免事故扩大的临时应急方案和措施。 3、台风预警分级 根据气象部门预报,将台风预警等级分为Ⅰ、Ⅱ、Ⅲ、Ⅳ四个级别,分别代表特别重大、重大、较大和一般。 3.1特别重大(Ⅰ级,红色预警) 6小时内可能受台风影响,平均风力达到12级以上;或者已经受台风影响,平均风力已达12级以上,并可能持续。 3.2重大(Ⅱ级,橙色预警) 12小时内可能受强热带风暴或台风影响,平均风力达到10级以上,或阵风11级以上;或者已经受强热带风暴影响,平均风力为10—11级,或阵风11—12级,并可能持续。 3.3较大(Ⅲ级,黄色预警) 24小时内可能受热带风暴或强热带风暴、台风影响,平均风力达到8级以上,或阵风9级以上;或者已经受热带风暴影响,平均风力为8—9级,或阵风9—10级,并可能持续。 3.4一般(Ⅳ级,蓝色预警) 气象部门发布台风消息,热带低压可能影响我区,平均风力达到6级以上,或阵风7级以上;或者已经受热带低压影响,平均风力为6—7级,或阵风7—8级,并可能持续。 3.5预警发布 台风预警等级信号根据气象局OA或通告发布。 3.6台风及次生灾害预警 3.6.1台风影响预警 气象部门加强台风监测和预报,及时对台风影响情况进行预警。根据台风影响程度,防指加强值班,跟踪台风动向,研究防御对策,明确防御重点,及时将有关信息向员工发布。 3.6.2降雨实时预警 加强降雨监测,防指在收到气象部门的强降雨信息后,立即发出警报。各部门得到强降雨警报后,立即组织员工作好相关准备工作。 4应急保障措施 4.1台风来前首先会刮起强风。强风有可能吹倒建筑物、高空设施,易造成人员伤亡。因此,在台风来临前,千万不要在木工棚、临时建筑、电线杆、树木、宣传牌等容易造成伤亡的地点逗留。 4.2强风会吹落高空物品,易造成砸伤砸死事故。因此,在台风来临之前检查放置在露台和屋顶的物品,要固定好花盆、空调室外机、雨篷,建筑施工地上的零星物品等,以确保安全。 4.3如遇玻璃松动或有裂缝,请在玻璃上贴上胶条,以免吹碎后,碎片四散。 4.4台风可能造成停水停电等现象,要及时做好日常生活,如食品、水的储备工作。 4.5照明设备:准备应急灯,万一台风损坏电力设备的时候可以用得上。 4.6台风来临时,要迅速切断各类电器的电源防止雷击,关紧门窗,以免被强风吹开,同时远离挡风的门窗,以免被暴风吹来的碎片击中。台风来时还要检查并缚紧容易被风吹倒的物件,如窗户等。不要在玻璃门、玻璃窗附近逗留。 4.7尽量减少外出,停留在安全的室内。若不得已确实需要外出,切勿靠近危墙,应注意躲避随风吹来的树枝等杂物和可能倒塌的树木,墙砖,电线等。 4.8发现他人遇险,应及时报警,并在确保个人安全的情况下应尽自己所能加以救助。 附件一 公司专业应急小组成员及联系方式 组 别 行政职务 人员 联系电话 手机 办公电话 通迅组 组 长 安全系系长 成 员 保卫干事 08 成 员 系统担当 13 02 成 员 主任 137 027 成 员 保安 李 168 048 警戒组 组 长 保卫干事 18 028 成 员 保安 10 成 员 保安 1722 0848 保安 -- 062848 成 员 保安 13 02848 保安 -- 848 成 员 保安 -- 0248 成 员 保安 胡 17 02848 抢险组 组 长 安全系系长 1320 02848 成 员 保安 103 4792 成 员 制造部高干 赖 13 -- 成 员 品质保证科科长 182 02 成 员 保安队队长 张 16 0848 成 员 制造四科科长 -- 0742 成 员 资材部安全员 61 8 成 员 资材部安全员 136 0958 成 员 设备科系长 -- 842 技术组 组 长 总务科科长 林 3 0792 成 员 资材部生管科科长 -- 0970746 成 员 设备科科长 13687 70842 成 员 制造一科科长 1368786 749 成 员 制造二科科长 强 0907 成 员 制造三科科长 136 020641 成 员 制造四科科长 39 00742 XXXXXXXXXX公司 2015年5月13日 第 9 页 共 9 页
展开阅读全文

开通  VIP会员、SVIP会员  优惠大
下载10份以上建议开通VIP会员
下载20份以上建议开通SVIP会员


开通VIP      成为共赢上传

当前位置:首页 > 包罗万象 > 大杂烩

移动网页_全站_页脚广告1

关于我们      便捷服务       自信AI       AI导航        抽奖活动

©2010-2025 宁波自信网络信息技术有限公司  版权所有

客服电话:0574-28810668  投诉电话:18658249818

gongan.png浙公网安备33021202000488号   

icp.png浙ICP备2021020529号-1  |  浙B2-20240490  

关注我们 :微信公众号    抖音    微博    LOFTER 

客服