收藏 分销(赏)

桐城市基本公共卫生服务民生工程流程图.doc

上传人:人****来 文档编号:3397316 上传时间:2024-07-04 格式:DOC 页数:11 大小:1.81MB 下载积分:8 金币
下载 相关 举报
桐城市基本公共卫生服务民生工程流程图.doc_第1页
第1页 / 共11页
桐城市基本公共卫生服务民生工程流程图.doc_第2页
第2页 / 共11页


点击查看更多>>
资源描述
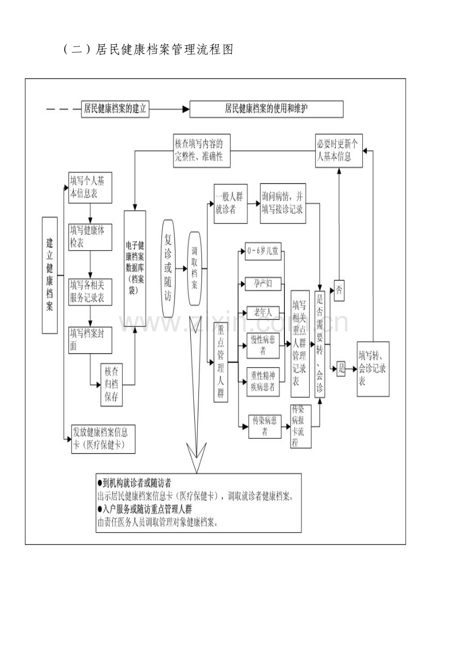
桐都市基本公共卫生服务民生工程流程图 一、居民健康档案管理服务流程 (一)确定建档对象流程图 (二)居民健康档案管理流程图 二、健康教育服务流程 三、防止接种服务流程四、0-6岁小朋友健康管理服务流程 五、孕产妇健康管理服务流程 六、老年人健康管理服务流程 七、慢病管理流程 (一)高血压患者健康管理服务流程 1.高血压筛查流程图 2.高血压患者随访流程图 (二)2型糖尿病患者健康管理服务流程图 八、重性精神疾病患者管理服务流程 九、传染病及突发公共卫生事件汇报和处理服务流程 十、卫生监督协管服务流程 十一、中医药健康管理服务规范   (一)老年人中医药健康管理服务 (二)0~36个月小朋友中医药健康管理服务
展开阅读全文

开通  VIP会员、SVIP会员  优惠大
下载10份以上建议开通VIP会员
下载20份以上建议开通SVIP会员


开通VIP      成为共赢上传

当前位置:首页 > 包罗万象 > 大杂烩

移动网页_全站_页脚广告1

关于我们      便捷服务       自信AI       AI导航        抽奖活动

©2010-2025 宁波自信网络信息技术有限公司  版权所有

客服电话:0574-28810668  投诉电话:18658249818

gongan.png浙公网安备33021202000488号   

icp.png浙ICP备2021020529号-1  |  浙B2-20240490  

关注我们 :微信公众号    抖音    微博    LOFTER 

客服