收藏 分销(赏)

国有企业统计报表管理流程及说明.docx

上传人:天**** 文档编号:1879982 上传时间:2024-05-11 格式:DOCX 页数:3 大小:44KB 下载积分:5 金币
下载 相关 举报
国有企业统计报表管理流程及说明.docx_第1页
第1页 / 共3页
国有企业统计报表管理流程及说明.docx_第2页
第2页 / 共3页


点击查看更多>>
资源描述
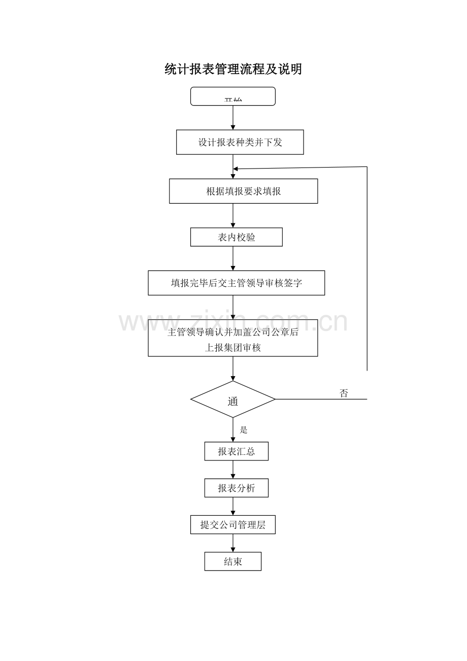
统计报表管理流程及说明 开始 设计报表种类并下发 根据填报要求填报 表内校验 填报完毕后交主管领导审核签字 主管领导确认并加盖公司公章后 上报集团审核 通过? 否 是 报表汇总 报表分析 提交公司管理层 结束 一、业务目标 1、强化集团经营管理统计工作,指导子公司生产经营活动 2、推行统计报表管理制度,使集团系统统计数据获取、业务管理工作有法可依、有章可循 3、建立统计分析体系,为公司经营决策提供参考依据 4、建立生产经营管理信息系统,逐步实现在线监测、动态管理 二、业务范围 该流程主要描述了集团经营性子公司统计报表管理流程,适用于全面反映集团整体生产经营情况及经营性子公司生产经营活动全貌,主要包括统一报表种类格式、填写统计报表、报表上报、报表汇总和报表分析等步骤。 三、业务流程步骤 1、根据各经营性子公司主营业务的不同,设计不同的统计报表模板并下发。 2、子公司(集团公司本部相关部门)收到统计报表后,仔细阅读统计报表的内容及注意事项,统计人员按照统计报表的具体要求认真填写。 3、统计人员填写完毕,进行表内校验后交主管领导审核签字。 4、主管领导审核签字并加盖公司公章后,上报集团公司经营管理部。 5、经营管理部负责报表审核,审核通过后,进行报表汇总;如填报不符合要求,子公司再进行补充填报。 6、统计报表汇总后进行分析,并提交集团公司管理层审阅。
展开阅读全文

开通  VIP会员、SVIP会员  优惠大
下载10份以上建议开通VIP会员
下载20份以上建议开通SVIP会员


开通VIP      成为共赢上传

当前位置:首页 > 包罗万象 > 大杂烩

移动网页_全站_页脚广告1

关于我们      便捷服务       自信AI       AI导航        抽奖活动

©2010-2026 宁波自信网络信息技术有限公司  版权所有

客服电话:0574-28810668  投诉电话:18658249818

gongan.png浙公网安备33021202000488号   

icp.png浙ICP备2021020529号-1  |  浙B2-20240490  

关注我们 :微信公众号    抖音    微博    LOFTER 

客服