收藏 分销(赏)

NBVK-WI-PR053样板施工及样品制作审批作业指引.docx

上传人:xrp****65 文档编号:8791438 上传时间:2025-03-02 格式:DOCX 页数:5 大小:68.69KB 下载积分:10 金币
下载 相关 举报
NBVK-WI-PR053样板施工及样品制作审批作业指引.docx_第1页
第1页 / 共5页
NBVK-WI-PR053样板施工及样品制作审批作业指引.docx_第2页
第2页 / 共5页


点击查看更多>>
资源描述
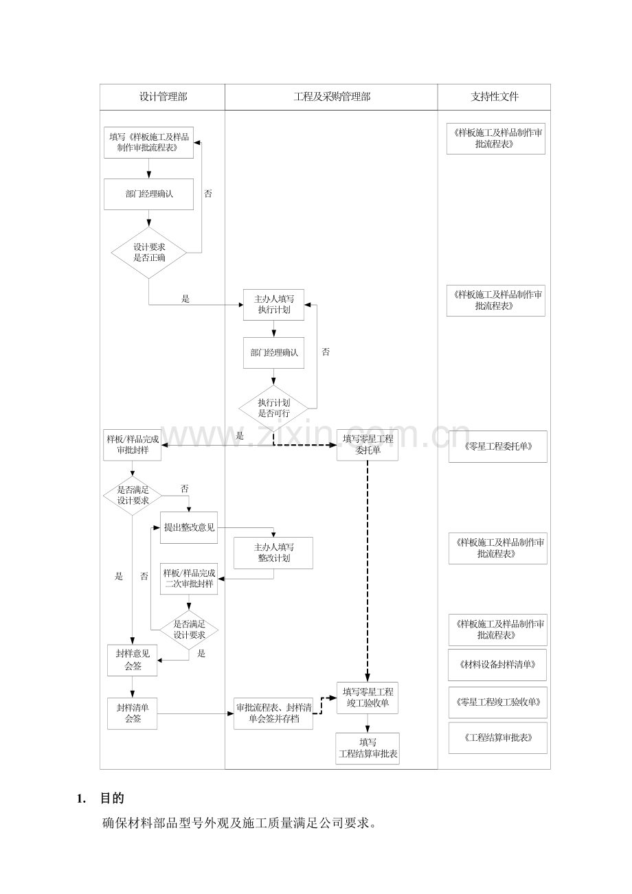
样板施工及样品制作审批作业指引 编制 日期 审核 日期 批准 日期 流程要素 流程目标:确保材料部品型号外观及施工质量满足公司要求。 确保材料样品按照设计要求及时完成制作,审批封样过程严谨、高效。 流程时间要求 流程监控点数目 流程主要责任岗位 设计部、工程及采购管理部 流程涉及职位数目 修订记录 日 期 修订状态 修改内容 修改人 审核人 批准人 1. 目的 确保材料部品型号外观及施工质量满足公司要求。 确保材料样板/样品按照设计要求及时完成制作,审批封样过程严谨、高效。 2. 适用范围 涉及土建施工类、室内装修类、景观工程类、绿化工程类影响设计效果的所有材料部品(详见7.材料样品(样板)及审批权限分类表)。对经总经理层汇报会确认的部品(如空调、可视对讲设备等)可不参照本作业指引。 3. 职责 3.1. 工程及采购管理部 3.1.1. 按照《样板施工及样品制作审批流转表》要求制作样品。 3.1.2. 负责批准样品制作完成时间。 3.1.3. 选择样板/样品制作单位。 3.1.4. 负责样板/样品及时完成和整改。 3.1.5. 负责办理样板/样品加工制作费的立项、结算和支付流程。 3.2. 设计管理部 3.2.1. 填写《样板施工及样品制作审批流转表》。 3.2.2. 明确设计要求,提供图纸或照片。 3.3. 组织设计部门对完成样板/样品审批封样。 3.4. 设计管理部经理 3.4.1. 负责批准审批意见。 3.4.2. 负责批准封样意见。 4. 工作程序 4.1. 编制《样板施工及样品制作审批流转表》。 4.1.1. 设计管理部在编制《样板施工及样品制作审批流转表》时,应以文字描述样板/样品技术要求,附图纸或照片。 4.1.2. 工程及采购管理部在工程及采购管理部意见栏,填写完成时间。 4.1.3. 工程及采购管理部选定样板/样品制作单位。 4.1.4. 样板/样品完成后,设计部组织设计人员对样板/样品评审并填写审批意见。 4.2. 封样 4.2.1. 首次评审,满足设计要求的,由设计管理部经理审批封样意见。 4.2.2. 封样意见审批流转完成的《样板施工及样品制作审批流转表》交工程及采购管理部/项目部存档,作为封样依据。 4.2.3. 首次评审,不满足设计要求的,由设计管理部经理审批整改意见。 4.2.4. 首次评审,不满足设计要求的,由工程及采购管理部在工程及采购管理部意见栏中审批整改完成时间。 4.2.5. 二次评审,满足设计要求的,由设计管理部经理审批封样意见。 4.2.6. 需经总经理层审批的,由设计管理部主办人填写审批意见一栏中是否需请分管副总审批,并交分管副总审批意见流转。 5. 样板/样品加工制作费 5.1. 样板/样品加工制作费指代加工单位因加工样板/样品而发生的加工、制作、运输等所有费用。 5.2. 工程及采购管理部在委托合作单位加工样板/样品前,填写《NBVK-QR-PR127零星工程委托单》。 5.3. 工程及采购管理部在样板/样品审批结束后填写《NBVK-QR-PR128零星工程竣工验收单》及《NBVK-QR-048工程结算审批表》。按照样板/样品制作难度可以支付制作单位申请费用的100%-150%。 6. 量产材料设备封样 6.1. 如设计管理部要求采用量产材料设备,可由工程及采购管理部直接填写《NBVK-QR-PR087材料设备封样清单》。按照《材料样品(样板)及审批权限分类表》的审批权限要求,请设计管理部填写封样意见。 6.2. 易混淆材料设备封样。《材料样品(样板)及审批权限分类表》备注栏以★号标注材料设备。必须做到型号与实物/照片齐备。且须要求供应商送样核对无误后方可准备批量供货。批量供货前,须填写送样标签。 7. 材料样品(样板)及审批权限分类表 材料样品(样板)及审批权限分类表 序号 名称 审批管理权限 备注 主办设计师 部门经理 分管设计副总 一 土建施工类 1 幕墙 √ ○ ● 2 进户门 √ ○ ● 3 阳台栏杆 √ ○ ● 4 空调挡板 √ ○ ● 5 庭院栏杆 √ ○ ● 6 屋面瓦 √ ○ ● 7 外墙涂料 √ ○ ● 8 外墙砖 √ ○ ● 9 外墙人造石 √ ○ 10 外墙石材 √ ○ 11 楼梯栏杆 √ ○ 12 平台及露台地砖 √ ○ 13 楼梯砖 √ ○ 14 大堂地砖 √ ○ 15 铝合金门窗 √ ○ 二 室内装修类 1 收纳系统 √ ○ ● 2 地板 √ ○ ● 3 墙地砖 √ ○ ★ 4 筒灯、射灯 √ ○ ★ 5 户内门 √ ○ 6 橱柜 √ ○ 7 镜箱 √ ○ 8 卫浴洁具 √ ○ 9 洗涤槽 √ ○ 10 厨卫龙头 √ ○ 11 厨卫电器 √ ○ 12 户内门锁 √ ○ 13 户内门碰 √ ○ 14 开关插座 √ ○ 15 大理石板材 √ ○ 16 吊顶材料 √ ○ 三、 景观工程类 1 儿童玩具 √ ○ ● 2 门牌 √ ○ ● 3 铺地材料 √ ○ 4 围墙/门 √ ○ 5 灯具 √ ○ 6 栏杆 √ ○ 7 景观家具 √ ○ 8 木质品 √ 9 井盖/盖板 √ 四、 其他 说明:审批权限中分管设计副总一栏指材料部品意义重大须由总经理层审批。 备注中★注明部品封样时,必须做到型号与实物或照片齐备。且批量进场前须填写送样标签。 8. 相关记录 8.1. NBVK/QR/PR080《样板施工及样品制作审批流转表》 8.2. NBVK/QR/PR087《材料设备封样清单》 8.3. NBVK/QR/PR133《零星工程委托单》 8.4. NBVK/QR/PR134《零星工程竣工验收单》 8.5. NBVK/QR/PR048《工程结算审批表》
展开阅读全文

开通  VIP会员、SVIP会员  优惠大
下载10份以上建议开通VIP会员
下载20份以上建议开通SVIP会员


开通VIP      成为共赢上传

当前位置:首页 > 环境建筑 > 其他

移动网页_全站_页脚广告1

关于我们      便捷服务       自信AI       AI导航        抽奖活动

©2010-2026 宁波自信网络信息技术有限公司  版权所有

客服电话:0574-28810668  投诉电话:18658249818

gongan.png浙公网安备33021202000488号   

icp.png浙ICP备2021020529号-1  |  浙B2-20240490  

关注我们 :微信公众号    抖音    微博    LOFTER 

客服