收藏 分销(赏)

债券业务岗债券手续费划转标准流程图.doc

上传人:天**** 文档编号:9620343 上传时间:2025-04-01 格式:DOC 页数:1 大小:18.54KB 下载积分:5 金币
下载 相关 举报
债券业务岗债券手续费划转标准流程图.doc_第1页
第1页 / 共1页
本文档共1页,全文阅读请下载到手机保存,查看更方便
资源描述
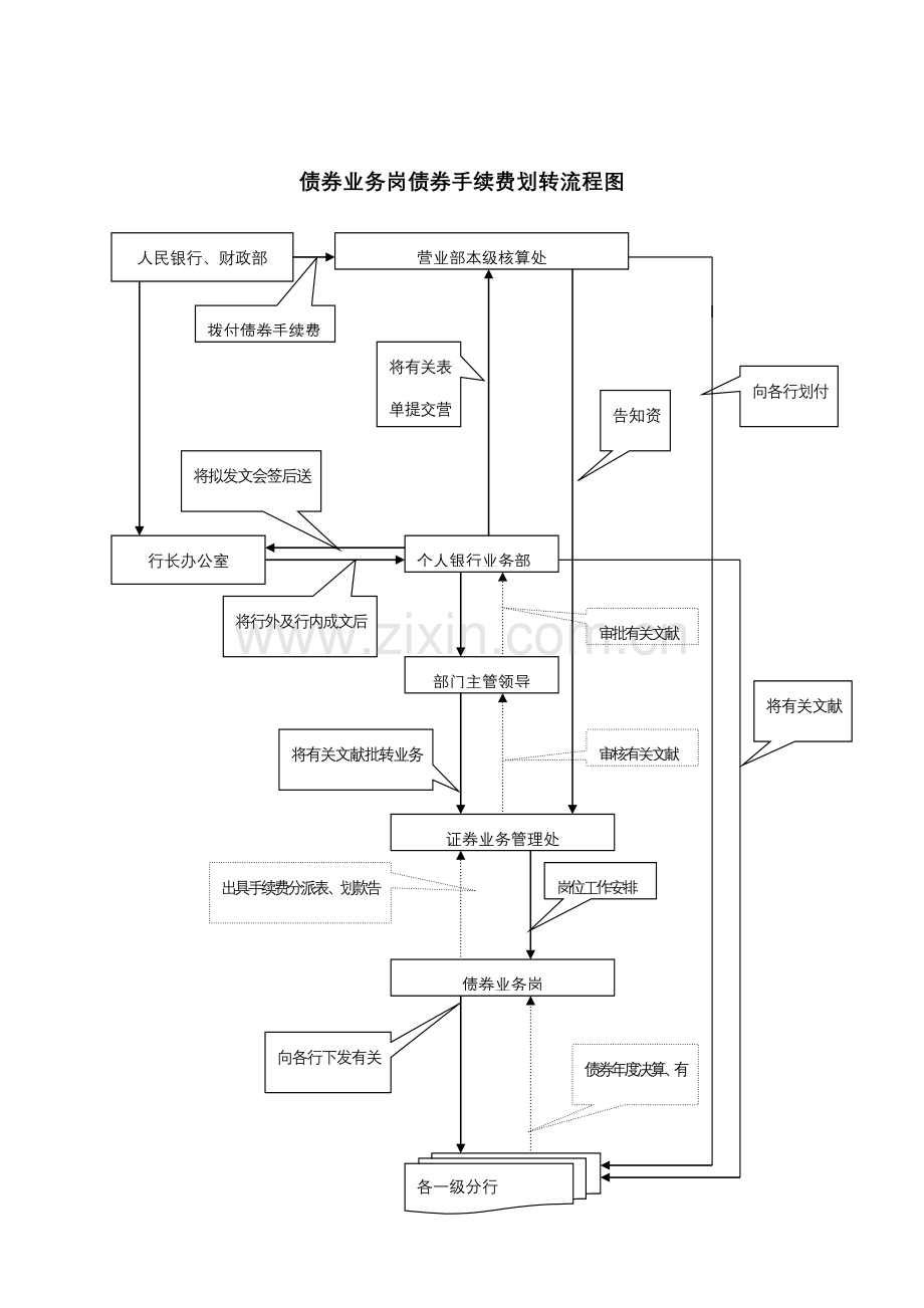
将拟发文会签后送办公室审核 岗位工作安排 将有关文献批转业务主管处室 人民银行、财政部 行长办公室 个人银行业务部 部门主管领导 证券业务管理处 债券业务岗 营业部本级核算处 各一级分行 债券业务岗债券手续费划转流程图 出具手续费分派表、划款告知单、 准备有关文献 审批有关文献 审核有关文献 将行外及行内成文后有关文献转个银部 债券年度决算、有关账务核对 向各行下发有关债券管理文献 将有关文献下发各分行 将有关表单提交营业部 告知资金到账 向各行划付手续费 拨付债券手续费
展开阅读全文

开通  VIP会员、SVIP会员  优惠大
下载10份以上建议开通VIP会员
下载20份以上建议开通SVIP会员


开通VIP      成为共赢上传

当前位置:首页 > 包罗万象 > 大杂烩

移动网页_全站_页脚广告1

关于我们      便捷服务       自信AI       AI导航        抽奖活动

©2010-2025 宁波自信网络信息技术有限公司  版权所有

客服电话:0574-28810668  投诉电话:18658249818

gongan.png浙公网安备33021202000488号   

icp.png浙ICP备2021020529号-1  |  浙B2-20240490  

关注我们 :微信公众号    抖音    微博    LOFTER 

客服