收藏 分销(赏)

·职务任命流程.doc

上传人:pc****0 文档编号:7771400 上传时间:2025-01-16 格式:DOC 页数:1 大小:40.50KB 下载积分:10 金币
下载 相关 举报
·职务任命流程.doc_第1页
第1页 / 共1页
本文档共1页,全文阅读请下载到手机保存,查看更方便
资源描述
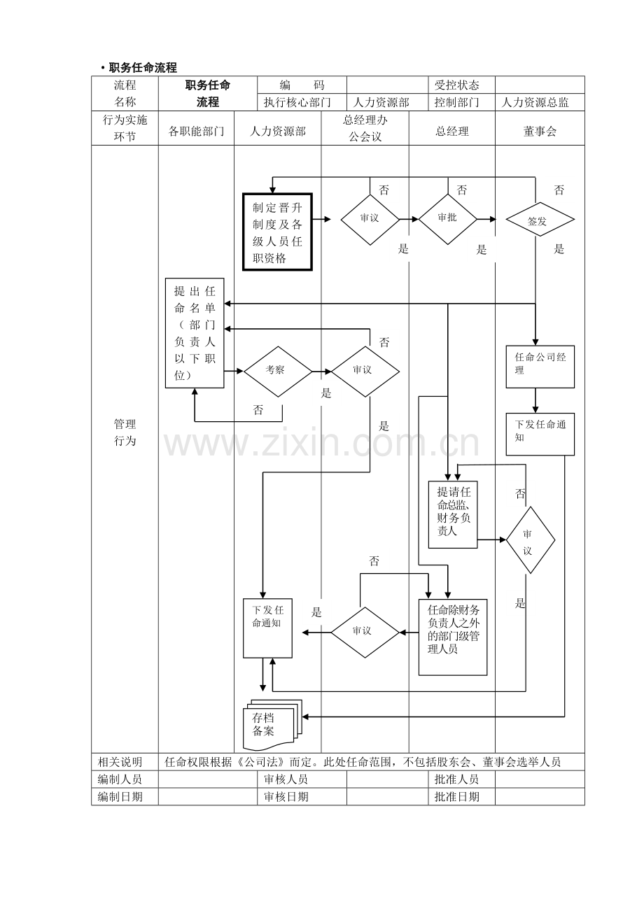
·职务任命流程 流程 名称 职务任命 流程 编 码 受控状态 执行核心部门 人力资源部 控制部门 人力资源总监 行为实施环节 各职能部门 人力资源部 总经理办 公会议 总经理 董事会 管理 行为 提出任命名单(部门负责人以下职位) 制定晋升制度及各级人员任职资格 考察 是 否 是 存档 备案 下发任命通知 否 审议 是 否 审议 是 否 审议 否 审批 是 任命除财务负责人之外的部门级管理人员 提请任命总监、财务负责人 否 签发 是 任命公司经理 否 是 审议 下发任命通知 相关说明 任命权限根据《公司法》而定。此处任命范围,不包括股东会、董事会选举人员 编制人员 审核人员 批准人员 编制日期 审核日期 批准日期
展开阅读全文

开通  VIP会员、SVIP会员  优惠大
下载10份以上建议开通VIP会员
下载20份以上建议开通SVIP会员


开通VIP      成为共赢上传

当前位置:首页 > 百科休闲 > 其他

移动网页_全站_页脚广告1

关于我们      便捷服务       自信AI       AI导航        抽奖活动

©2010-2026 宁波自信网络信息技术有限公司  版权所有

客服电话:0574-28810668  投诉电话:18658249818

gongan.png浙公网安备33021202000488号   

icp.png浙ICP备2021020529号-1  |  浙B2-20240490  

关注我们 :微信公众号    抖音    微博    LOFTER 

客服